Kế toán giá trị gia tăng trong doanh nghiệp

Tài sản sử dụng

TK 133: Thuế GTGT được khấu trừ.

TK 133.1: Thuế GTGT được khấu trừ của hàng hoá, dịch vụ.

TK 133.2: Thuế GTGT được khấu trừ của TSCĐ.

TK 333.1: Thuế GTGT phải nộp.

TK 333.1.1: Thuế GTGT đầu ra.

TK 3331.2: Thuế GTGT hàng nhập khẩu.

* Kết cấu và nội dung của TK 133 "thuế GTGT được khấu trừ".

- Nội dung: TK này dùng để phản ánh số thực GTGT đầu vào được khấu trừ, đã khấu trừ và còn được khấu trừ của doanh nghiệp.

- Kết cấu:

* Kết cấu và nội dung của TK 3331 " Thuế GTGT phải nộp".

TK 3331 có 2 TK cấp 2:

- TK 33311: Thuế GTGT đầu ra.

- TK 33312: Thuế GTGT phải nộp của hàng nhập khẩu.

Phương pháp hạch toán.

Hạch toán thuế GTGT theo phương pháp khấu trừ.

- Khi mua vật tư, hàng hoá, TSCĐ dùng vào hoạt động sản xuất kinh doanh.

Nợ TK 152, 156, 153, 211, 213, 611… Giá mua chưa có thuế.

Nợ TK 133: Thuế GTGT đầu vào được khấu trừ.

Có TK 111, 112, 331… Tổng giá thanh toán

- Khi mua vật tư, dịch vụ dùng ngay vào sản xuất kinh doanh hàng hoá, dịch vụ, sửa chữa TSCĐ, đầu tư xây dựng cơ bản.

Nợ TK 621, 627, 641, 642, 241, 142… Giá mua chưa có thuế GTGT.

Nợ TK 133 : Thuế GTGT được khấu trừ.

Có TK 111, 112, 331: Tổng giá thanh toán.

- Khi mua hàng nhập khẩu dùng cho hoạt động sản xuất kinh doanh thuộc diện chịu thuế.

Nợ TK 133: Thuế GTGT được khấu trừ.

Có TK 3312: Thuế GTGT của hàng nhập khẩu.

- Mua vật tư, dịch vụ sử dụng cho sản xuất các mặt hàng chịu thuế GTGT và các mặt hàng không thuộc diện chịu thuế GTGT thì phải hạch toán riêng số dùng để sản xuất các mặt hàng chịu thuế GTGT đối với thuế GTGT đầu vào của số vật tư, dịch vụ dùng để sản xuất các mặt hàng không thuộc chịu thuế GTGT được tính vào giá trị vật tư, dịch vụ mua ngoài hoặc đối tượng có liên quan. Nếu hạch toán được thì toàn bộ số GTGT đầu vào được tập hết vào TK 133. Cuối kỳ phải phân bổ cho từng đối tượng dựa vào doanh thu từng loại.

Nợ TK 152, 153, 156, 611, 641, 642… Giá mua chưa có thuế.

Nợ TK 133: Thuế GTGT đầu vào được khấu trừ.

Có TK 331, 111, 112, 311… Tổng giá thanh toán phải trả người bán, người cung cấp.

- Hàng mua đã trả lại hoặc được giảm giá thuộc đối tượng chịu thuế GTGT.

Nợ TK 111, 112, 331… Tổng giá thanh toán.

Có TK 133: Thuế GTGT đầu vào của cửa hàng.

Có TK 152, 153, 156… Giá mua chưa có thuế GTGT.

* Hạch toán thuế GTGT đầu ra.

- Phản ánh thuế GTGT phải nộp khi tiêu thụ sản phẩm, hàng hoá.

Nợ TK 111, 112, 131.

Có TK 333.

Có TK 511.

- Trường hợp sử dụng các chứng từ đặc thù cho phép hoặc trực tiếp bán lẻ hàng hoá, dịch vụ cho người tiêu dùng không thuộc dịên phải lập hoá đơn bán hàng kế toán phải căn cứ vào từng giá thanh toán ghi trên chứng từ để xác định giá bán chưa thuế, số thuế GTGT phải nộp để ghi sổ:

- Trường hợp cung cấp dịch vụ thu tiền trước: Kế toán phải ghi nhận doanh thu là toàn bộ số tiền thu được chưa có thuế GTGT và phản ánh thuế GTGT phải nộp:

Nợ TK 111, 112…

Có TK 33311

Có TK 3387

- Trường hợp bán hàng theo phương thức trả chậm, trả góp, kế toán xác định doanh thu bán hàng là giá bán trả một lần chưa có thuế GTGT và phản ánh thuế GTGT.

Nợ TK 111, 112, 131.

Có TK 33311.

Có TK 511.

Có TK 3387 "Doanh thu thực hiện" chênh lệch.

- Trường hợp bán hàng theo phương thức người đổi hàng.

+ Khi đưa hàng đi đổi:

Nợ TK 131

Có TK 511.

Có TK 33311.

+ Khi nhận hàng hoá đổi về

Nợ TK 152, 153, 156…

Nợ TK 133

Có TK 131

- Trường hợp đem sản phẩm, hàng hoá thuộc diện chịu thuế đi biếu tặng hoặc sử dụng nội bộ

Nợ TK 627, 641, 642

Nợ TK 133

Có TK 3331

Có TK 512

- Trường hợp đem sản phẩm, hàng hoá thuộc diện chịu thuế đi biếu tặng hoặc sử dụng nội bộ:

Nợ TK 627, 641, 642

Nợ TK 133

Có TK 3331

Có TK 512

- Trường hợp trả lương cho công nhân bằng sản phẩm, hàng hoá

Nợ TK 334

Có TK 33311

Có TK 512

- Trường hợp hàng bán bị trả lại

Nợ TK 531

Nợ TK 33311

Có TK 111, 112, 131…

- Trường hợp phát sinh các khoản thu nhập từ hoạt động tài chính và hoạt động bất thường:

Nợ TK 111, 112, 131

Có TK 33311

Có TK 515

TK 711

* Hạch toán thuế GTGT được khấu trừ thuế GTGT phải nộp, đã nộp và thuế GTGT đầu vào không được trừ.

Thuế GTGT đầu vào được khấu trừ của hàng hoá, dịch vụ phát sinh tháng nào thì được kê khai khấu trừ khi xác định số thuế GTGT phải nộp của tháng đó, không phân biệt đã xuất dùng hay còn trong kho. Nếu số thuế GTGT đầu vào khấu trừ trong tháng lớn hơn số thuế GTGT đầu ra phải nộp của tháng 10 thì chỉ khấu trừ đúng bằng số phải nộp, số còn lại được khấu trừ tiếp vào tháng sau hoặc được xét hoàn thuế theo chế độ quy định. Trường hợp thuế GTGT đầu vừa cho sản xuất kinh doanh các đối tượng chịu thuế vừa cho các đối tượng không chịu thuế GTGT mà không tách riêng ra được thì phải phân bổ cho từng loại theo doanh thu bán hàng trong kỳ của 2 loại. Số thuế GTGT phân bổ cho các đối tượng không chịu thuế GTGT sẽ được tính giá vốn cửa hàng bán ra. Trong trường hợp số thuế này quá lớn thì vượt doanh số sẽ được tính vào kỳ tiếp theo. Đối với thuế GTGT đầu vào của TSCĐ cũng được khấu trừ vào số thuế GTGT phải nộp trong tháng của hàng hoá, dịch vụ. Trường hợp số thuế GTGT đầu vào của TSCĐ quá lớn, doanh nghiệp sẽ đươc khấu trừ dần. Nếu đã khấu trửtong 03 tháng liên tục mà số thuế GTGT vẫn còn thì doanh nghiệp làm thủ tục yêu cầu cơ quan thuế hoàn lại số thuế GTGT chưa được khấu trừ theo quy định của luật thuế GTGT.

- Trường hợp số thuế GTGT được khấu trừ trong tháng

Nợ TK 3331

Có TK 133

- Phản ánh số thuế GTGT đã nộp trong kỳ

Nợ TK 3331

Có TK 111, 112,311

- Trường hợp số thuế GTGT đầu vào được khấu trừ lớn hơn số thuế GTGT phải nộp thì kết chuyển đúng bằng số phải nộp.

Nợ TK 331

Có TK 133

- Trường hợp thuế GTGT vừa phân bổ cho đối tượng chịu thuế GTGT vừa phân bổ cho đối tượng không chịu thuế GTGT

Nợ TK 3331

Nợ TK 632

Nợ TK 142

Có TK 133

Sang tháng sau, số thuế GTGT không được khấu trừ đã kết chuyển vào TK 1421 sẽ trừ tiếp vào giávốn hàng bán.

- Trường hợp được hoàn lại thuế GTGT

Nợ TK 111, 112

Có TK 113

Có TK3331

- Trường hợp được giảm thuế

Nợ TK 3331

Nợ TK 111, 112

Có TK 711

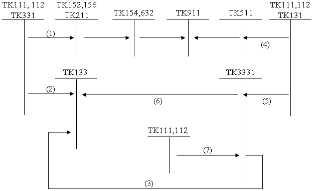
Sơ đồ hạch toán thuế GTGT theo phương pháp khấu trừ

Giải thích:

(1) Giá trị vật tư, hàng hoá TSCĐ nhập kho theo giá thực tế chưa có thuế GTGT đầu vào.

(2) Thuế GTGT đầu vào được khấu trừ

(3) Thuế GTGT hàng nhập khẩu được khấu trừ và nộp NSNN

(4) Doanh thu bán hàng chưa có thuế GTGT

(5) Thuế GTGT phải nộp

(6) Thuế GTGT đầu vào được khấu trừ với thuế GTGT phải nộp

(7) Nộp thuế GTGT vào NSNN.

Phương pháp hạch toán thuế GTGT theo phương pháp trực tiếp

- Trường hợp mua vật tư, hàng hoá, dịch vụ, TSCĐ dùng cho hoạt động sản xuất kinh doanh thuộc diện chịu thuế GTGT hay thuộc diện chịu thuế GTGT theo phương pháp trực tiếp hoặc dùng vào hoạt động phúc lợi, sự nghiệp, dự án, phúc lợi công cộng.

Nợ TK 152, 153, 156, 211

Có TK 111, 112, 331…

- Trường hợp mua hàng nhập khẩu dùng cho hoạt động sản xuất kinh doanh không thuộc diện chịu thuế GTGT theo phương pháp trực tiếp hoặc dùng hoạt động phúc lợi sự nghiệp… thì thuế GTGT của hàng nhập khẩu phải nộp được tính vào trị giá hàng mua:

Nợ TK 152, 153, 156, 211…

Có TK 333 (33312)

Có TK 3333

Có TK 111, 112, 331

- Khi bán sản phẩm hàng hoá, dịch vụ

Nợ TK 111, 112, 131

Có TK 511

- Trường hợp biếu, tặng sản phẩm, hàng hoá dịch vụ thuộc diện không chịu thuế, chịu thuế VAT theo phương pháp trực tiếp hoặc được trang trải bằng quỹ phúc lợi hay nguồn kinh phí khác.

Nợ TK 641, 642, 431…

Có TK 33311

Có TK 512

- Phản ánh số thuế GTGT phải nộp của hoạt động sản xuất kinh doanh

Nợ TK 642.5

Có TK 3331

- Phản ánh số thuế GTGT phải nộp của hoạt động tài chính và hoạt động bất thường

Nợ TK 511, 515

Đối với hoạt động khác ghi:

Nợ TK 711

Có TK33311

- Khi nộp thuế GTGT vào NHNN ghi:

Nợ TK 3331

Có TK 111, 112…

Quá trình hạch toán có thể được khái quát như sau:

Sơ đồ hạch toán thuế GTGT theo phương pháp trực tiếp

Giải thích:

(1) Giá trị vật tư, hàng hoá thực tế nhập kho có thuế GTGT đầu vào

(2) Doanh thu bán hàng, dịch vụ có thuế GTGT phải nộp

(3) Thuế GTGT phải nộp NSNN

(4) Nộp thuế GTGT vào NSNN

Sổ sách báo cáo kế toán

Chế độ sổ sách kế toán áp dụng cho các doanh nghiệp

Được thực hiện theo chế độ kế toán doanh nghiệp ban hành theo Quyết định số 1141TC/QĐ/CĐKT ngày 01 tháng 11 năm 1995 của Bộ trưởng Bộ Tài chính và có bổ sung 03 mẫu sổ sau:

+ Sổ chi tiết thuế GTGT

+ Sổ chi tiết thuế GTGT được hoàn

+ Sổ chi tiết thuế GTGT được miễn giảm.

Báo cáo tài chính

- Bảng cân đối kế toán

Bảng cân đối kế toán có bổ sung thêm chỉ tiêu, có mã số 133 "Thuế GTGT được khấu trừ" dùng để phản ánh số thuế GTGT còn được khấu trừ và số thuế GTGT được cơ quan có thẩm quyền chấp nhận hoàn lại nhưng đến cuối kỳ kế toán NSNN chưa hoàn trả.

- Báo cáo kết quả hoạt động kinh doanh

Phần I: Lãi, lỗ: Phản ánh tình hình kết quả hoạt động kinh doanh của doanh nghiệp.

Phần II: Tình hình thực hiện nghĩa vụ đối với nhà nước.