Tiêu chuẩn về đường nét trong bản vẽ kĩ thuật

Tiêu chuẩn về đường nét trong bản vẽ kĩ thuật

TIÊU CHUẨN VIỆT NAM 8 - 1993

- Các loại nét vẽ thường được dùng trên bản vẽ cơ khí và ứng dụng của chúng (Bảng 1.1) được quy định theo TCVN 8 -1993 Chiều rộng nét vẽ được kí hiệu là b (mm) và được chọn theo dãy quy định sau: 0,18; 0,25; 0,35; 0,5; 0,7; 1; 1,4 ....

- Trên các bản vẽ khổ A4 hoặc A3 nên chọn b = 0,5mm

- Các nét trên cùng một bản vẽ sau khi tô đậm phải đạt được sự đồng đều về chiều rộng, độ đen và về cách vẽ (chiều dài nét gạch, khoảng cách giữa các gạch ..)

- Khi hai hay nhiều nét vẽ trùng nhau thì vẽ theo thứ tự ưu tiên sau:

  • Nét liền đậm (Đường bao thấy, cạnh thấy)
  • Nét đứt (Đường bao khuất, cạnh khuất)
  • Nét chấm gạch mảnh (Giới hạn mặt phẳng cắt có hai nét đậm ở hai đầu)
  • Nét chấm gạch mảnh (Đường tâm, trục đối xứng)
  • Nét liền mảnh (Đường kích thước)

- Trong mọi trường hợp, tâm đường tròn phải được xác định bằng giao điểm của hai đoạn gạch của nét chấm gạch; các nét đứt, nét chấm gạch phải giao nhau bằng các gạch.

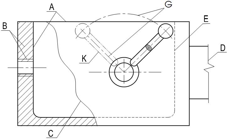
Dưới đây là ví dụ minh họa về ứng dụng của các nét vẽ. 

Kí hiệu vật liệu

  • Một số kí hiệu vật liệu trên mặt cắt thường dùng ở bản vẽ cơ khí như sau: